Используя этот сайт вы соглашаетесь на использование Cookie
Переходники
Пример записи условного обозначения
| 1 | 2 | 3 | 4 | 5 | 6 | 7 | |
| Переходник | МП | Exdb | IIC | 50 | d1 | d2 | HK |
| Параметры | Возможные значения | |
| 1 | Обозначение типа (модификация) | МП |
| 2 | Взрывозащита | Ex db, Exe – (газовые среды) Extb – (пылевые среды) |
| 3 | Группа взрывозащищенного оборудования | IIA, IIB, IIС, IIIA, IIIB, IIIС |
| 4 | Диапазон температур эксплуатации | -50…+85 ℃ (полиамид) -60…+ 125 ℃ |
| 5 | Присоединительная резьба, d1 | см. конструктивные исполнения резьбовых переходников |
| 6 | Присоединительная резьба, d2 | см. конструктивные исполнения резьбовых переходников |
| 7 | Материал кабельного ввода | Н-нержавеющая сталь, Л- латунь, НК – никелированная латунь, П-полиамид. |
Примечание:
Для исполнений без взрывозащиты значения параметров 2, 3, 4 не указываются.
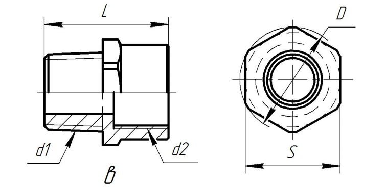
| Конструктивные исполнения резьбовых переходников | d1, мм | d1, мм | |||
![]() ![]() |
M16x1,5-6g M20x1,5-6g M25x1,5-6g |
M20x1,5-6H M25x1,5-6H M32x1,5-6H |
|||
| Допускается применение резьб согласованных с заказчиком | |||||

